近日,國家市場監管總局、國家標準化管理委員會聯合印發《關于批準發布<墜落防護>等49項強制性國家標準的公告》(國家標準公告2025年第22號)。
此次公布的49項強制性國家標準將于2026年9月1日起實施,這也意味著一大波舊的標準將被取代,在49項標準中,有42項是關于個體防護裝備的,具體內容如下。

GB 28409-2025 足部防護裝備的選擇、使用和維護 全部代替GB/T 28409-2012 實施時間2026年9月1日
GB 28288-2025 足部防護 足趾保護包頭 部分代替GB/T 28288-2012 實施時間2026年9月1日
GB 20098-2025 足部防護 通用技術規范 全部代替GB/T 20098-2006 實施時間2026年9月1日
GB 46308-2025 足部防護 防刺穿墊 部分代替完GB/T 28288-2012 實施時間2026年9月1日
GB 23468-2025 墜落防護裝備的選擇、使用和維護 全部代替GB/T 23468-2009 實施時間2026年9月1日
GB 23469-2025 墜落防護連接器 全部代替GB/T 23469-2009 實施時間2026年9月1日
GB 38230-2025 墜落防護 緩降裝置 全部代替GB/T 38230-2019 實施時間2026年9月1日
GB 24538-2025 墜落防護 緩沖器 全部代替GB/T 24538-2009 實施時間2026年9月1日
GB 24537-2025 墜落防護 帶柔性導軌的自鎖器 全部代替GB/T 24537-2009 實施時間2026年9月1日
GB 5725-2025 墜落防護 安全網 全部代替GB 5725-2009 實施時間2026年9月1日
GB 38144-2025 眼面部防護 應急噴淋和洗眼設備 全部代替GB/T 38144.1-2019、GB/T 38144.2-2019 實施時間2026年9月1日
GB 38696-2025 眼面部防護 強光源(非激光)防護具 全部代替GB/T 38696.1-2020、GB/T 38696.2-2020 實施時間2026年9月1日
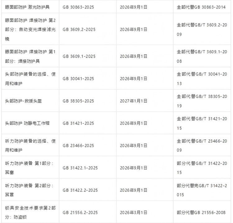
GB 30863-2025 眼面部防護 激光防護具 全部代替GB 30863-2014 實施時間2026年9月1日
GB 3609.2-2025 眼面部防護 焊接防護 第2部分:自動變光焊接濾光鏡 全部代替GB/T 3609.2-2009 實施時間2026年9月1日
GB 3609.1-2025 眼面部防護 焊接防護 第1部分:焊接防護具 全部代替GB/T 3609.1-2008 實施時間2026年9月1日
GB 30041-2025 頭部防護裝備的選擇、使用和維護 全部代替GB/T 30041-2013 實施時間2026年9月1日
GB 38305-2025 頭部防護-救援頭盔 全部代替GB/T 38305-2019 實施時間2027年1月1日
GB 31421-2025 頭部防護 防靜電工作帽 全部代替GB/T 31421-2015 實施時間2026年9月1日
GB 23466-2025 聽力防護裝備的選擇、使用和維護 全部代替GB/T 23466-2009 實施時間2026年9月1日
GB 31422.1-2025 聽力防護裝備 第1部分:耳塞 部分代替GB/T 31422-2015 實施時間2026年9月1日
GB 31422.2-2025 聽力防護裝備 第2部分:耳罩 部分代替完GB/T 31422-2015 實施時間2026年9月1日
GB 21556.2-2025 鎖具安全技術要求第2部分:防盜鎖 部分代替GB 21556-2008 實施時間2026年3月1日
GB 29512-2025 手部防護裝備的選擇、使用和維護 全部代替GB/T 29512-2013 實施時間2026年9月1日
GB 30865.1-2025 手部防護 手持刀具割傷和刺傷的防護手套 第1部分:金屬鏈甲手套和護臂 全部代替GB/T 30865.1-2014 實施時間2026年9月1日
GB 38306-2025 手部防護 防熱傷害手套 全部代替GB/T 38306-2019 實施時間2026年9月1日
GB 38304-2025 手部防護 防寒手套 全部代替GB/T 38304-2019 實施時間2026年9月1日
GB 13641-2025 勞動護膚劑通用技術條件 全部代替GB 13641-2006 實施時間2026年9月1日
GB 18664-2025 呼吸防護裝備的選擇、使用和維護 全部代替GB/T 18664-2002 實施時間2026年9月1日
GB 16556-2025 呼吸防護 自給開路式壓縮空氣呼吸器 全部代替GB/T 16556-2007 實施時間2026年9月1日
GB 38228-2025 呼吸防護 自給閉路式氧氣逃生呼吸器 全部代替GB/T 38228-2019 實施時間2026年9月1日
GB 31975-2025 呼吸防護 壓縮空氣技術要求 全部代替GB/T 31975-2015 實施時間2026年9月1日
GB 46309-2025 防護服裝 阻燃和熱防護服的選擇、使用和維護 系首次發布 實施時間2026年9月1日
GB 46311-2025 防護服裝 職業用防雨服 系首次發布 實施時間2026年9月1日
GB 23463-2025 防護服裝 微波輻射防護服 全部代替GB/T 23463-2009 實施時間2026年9月1日
GB 20097-2025 防護服裝 通用技術規范 全部代替GB/T 13640-2008、GB/T 20097-2006 實施時間2026年9月1日
GB 46312-2025 防護服裝 噴砂作業防護服 系首次發布 實施時間2026年9月1日
GB 46310-2025 防護服裝 顆粒物防護服 系首次發布 實施時間2026年9月1日
GB 28895-2025 防護服裝 抗油易去污防靜電防護服 全部代替GB/T 28895-2012 實施時間2026年9月1日
GB 46313-2025 防護服裝 機械防護服 系首次發布 實施時間2026年9月1日
GB 24536-2025 防護服裝 化學防護服的選擇、使用和維護 全部代替GB/T 24536-2009 實施時間2026年9月1日
GB 24539-2025 防護服裝 化學防護服 全部代替GB/T 23462-2009、GB 24539-2021 實施時間2026年9月1日
GB 38300-2025 防護服裝 防寒服 全部代替GB/T 38300-2019 實施時間2026年9月1日
GB 28408-2025 防護服裝 防蟲防護服全部代替GB/T 28408-2012 實施時間2026年9月1日







